Bus Operations Study

The Phase 1 fuel cell bus has been operated on UD's campus shuttle bus routes since May 2007, as a technology demonstration and to evaluate its performance and reliability. The bus is normally driven each day for about 2.5 hours, carrying about 100 passengers, and the data acquisition system collects a comprehensive set of data on the vehicle's operation, which is automatically stored on a server at the FCRL.

After about two years of operation, the data was analyzed, with a particular focus on fuel cell system efficiency and availability. Although the fuel cell system was not very reliable when the bus started operation, matters improved considerably over time as design problems were addressed:

  • Freeze damage to the fuel cell stack while the bus was in transit from the manufacturer to UD was fixed with a warranty replacement of the stack in Q4 2007
  • Overpressure damage to the stack due to incorrect hydrogen supply system design, Q4 2007, was addressed by replacing the three damaged membrane-electrode assemblies and fixing the H2 system
  • Instability at high power caused by the air delivery control algorithm was fixed by basing air delivery on stack current, rather than power
  • Glitches in the boost converter that conveys power from the stack to the main high voltage bus were reduced by switching to an improved control board
  • Problems with the hydrogen recirculating pump were mitigated by changing its mounting orientation, to prevent water accumulation and corrosion of internal components, and preheating the stainless steel housing, to prevent binding of the graphite rotor due to thermal expansion coefficient mismatch
Average efficiency of the fuel cell system after warmup on different days, displaying a rising and flattening trend as the system was improved. Top figure shows dates of operation.

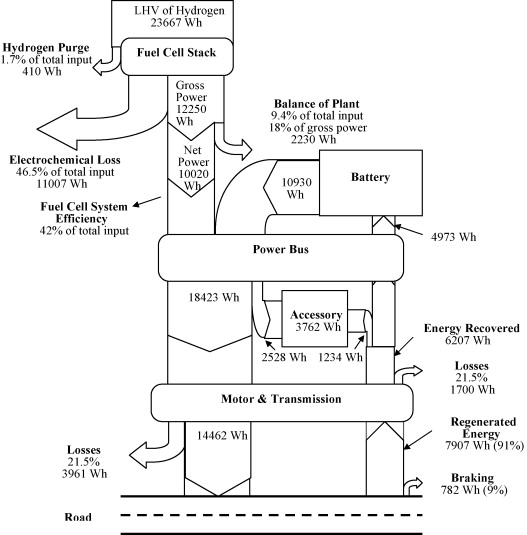
Power flow in the bus was also examined to identify possible areas for improvement in efficiency. A tool called a Sankey diagram, which shows power flows as "streams" with width proportional to their magnitude, was used. It shows the large amounts of energy recovered by regenerative braking with a large battery bank to absorb the power coming from the traction motor:

Sankey diagram showing energy flow and losses in the hybrid power train for a typical drive cycle.

The fuel cell system balance of plant consumes a significant fraction of the energy of the hydrogen supplying the stack, so efficiency gains there are potentially quite useful. Most of the balance of plant energy feeds the air compressor, so efficiency could be increased by improving air humidification to allow lower air system backpressure; additional improvements can be realized by replacing the hydrogen recirculation pump with a variable flow ejector.

Bubna P., Brunner D., Gangloff Jr. J.J., Advani S.G., and Prasad A.K., "Analysis, operation, and maintenance of a fuel cell/battery series-hybrid bus for urban transit applications," Journal of Power Sources, Vol. 195, pp. 3939-3949, June 15, 2010. doi:10.1016/j.jpowsour.2009.12.080